当前位置:首 页 --> 行业资讯
SGM6000 1.75V 至 5.5V 输入,静态电流 300nA,输出电流 700mA 的同步降压转换器
发布时间:2025/11/28 14:00:00 来源:永阜康科技
圣邦微电子推出 SGM6000,一款 1.75V 至 5.5V 输入,静态电流 300nA,输出电流 700mA 的同步降压转换器。该器件可应用于便携式消费产品、可穿戴设备、耳机/耳塞、超低功耗物联网(窄带物联网和/蓝牙)、单节锂离子/纽扣电池产品,及有线或无线工业产品。
SGM6000 系列是一款低压、高效的微型同步降压转换器,专为电池供电场景设计。芯片在 1.75V~5.5V 的输入电压范围内仍能保持仅 300nA 的超低静态电流,关断电流更是低至 6nA,可显著延长系统待机时间;同时,它支持最高 700mA 的负载电流,峰值效率可达 96%,即使在 10μA 轻载条件下效率仍高于 88%,确保电池能量被充分利用。
器件提供灵活的输出电压方案:SGM6000A 通过 VSET 引脚可在 0.7V 至 3.3V 之间任意设定,而 SGM6000B 则内部固定 0.6V、0.8V、1.2V 或 1.8V 四档常用电平,方便客户根据主芯片需求直接选用。芯片内置多种保护机制,并带有主动放电功能,可快速释放输出电容能量;同时最大限度地减少外部元件数量,仅需两个贴片电容和一个电感即可工作,方案占板面积仅 27.4mm²。

图 1 SGM6000 典型应用电路

图 2 SGM6000 方案示意图
SGM6000 采用符合环保理念的 WLCSP-1.31×0.89-6B 绿色微型封装,特别适合 TWS 耳机、智能手环、医疗传感器等对体积和续航极度敏感的空间受限应用。

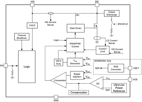
图 3 SGM6000 功能框图
|
||||||||||||
|
||||||||||||



